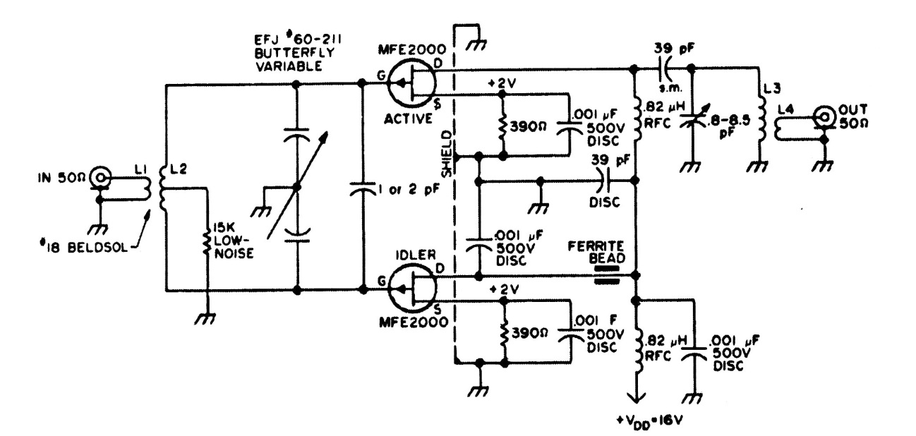
Este circuito con transistores de efecto de campo de unión se encontró en documentación de la década de 1980. Los transistores pueden ser MPF102 o BF245 y los detalles de las bobinas no se dan en el original. El consumo es bajo.

 

Preamplificador para 2 metros
Preamplificador para 2 metros | Haga click en la imagen para ampliar |