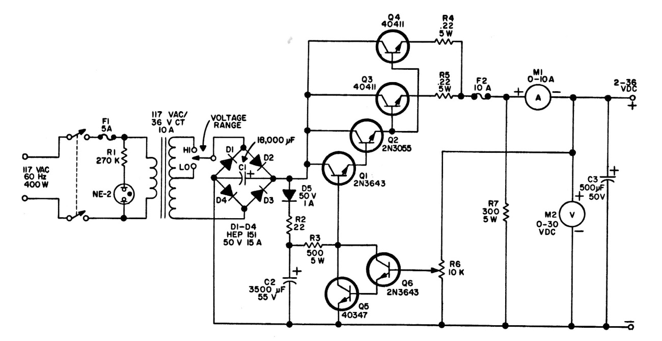
Esta fuente bien elaborada con regulación de corriente y tensión se encontró en la documentación estadounidense de la década de 1980. Los transistores admiten equivalentes modernos en los casos en que esto sea necesario. Los diodos son de alta corriente, al igual que el transformador.




