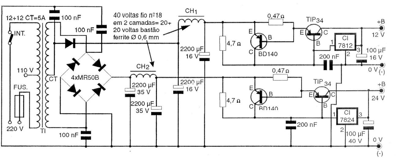
Esta fuente de alimentación proporciona tensiones de 12 y 24 V para estaciones de FM experimentales. La corriente total alcanza los 5 A. Los circuitos integrados del regulador de voltaje y los transistores de potencia deben montarse en buenos disipadores de calor. Los diodos son para 4 A con 50 V de tensión inversa y el transformador de 12 + 12 V con 5 A. El circuito es de documentación de 1997.




