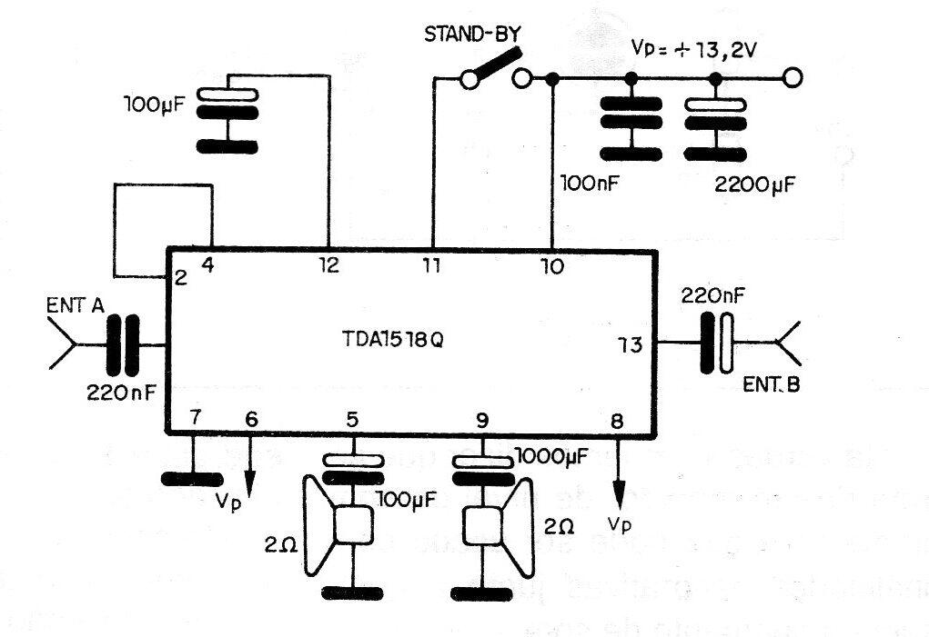
Este amplificador proporciona una potencia de salida de 11 W por canal con una carga de 2 ohms (estéreo), con una fuente de alimentación de solo 13,2 volts lo que lo hace especialmente adecuado para aplicaciones automotrices. El circuito es sugerido por Philips Components y tiene una impedancia de entrada de 30 k con una corriente de consumo pico de 4 amperes. El integrado se presenta en una carcasa DIL de 13 pines apta para montar en un radiador de calor. La corriente de reposo es de 30 mA y tiene un interruptor para estado de espera con una corriente de consumo de solo 0,1 uA (típ.)




