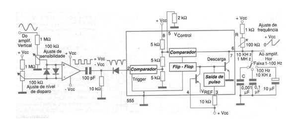
El circuito que se muestra en la figura puede ser muy útil para los lectores que tienen un osciloscopio que no tiene la capacidad de escanear disparado externamente por una señal a observar. La señal aplicada a la entrada del amplificador operacional activa el monoestable, conmutando el flip-flop interno al 555 y cortando así la descarga del condensador que se recarga. Cuando el voltaje en el capacitor alcanza 1/3 de Vdc, el circuito se dispara y el capacitor puede descargarse. Esto genera una señal de diente de sierra en el circuito para su uso en la entrada horizontal del osciloscopio. La linealidad depende del circuito de salida RC. Esta linealidad se puede mejorar significativamente si el resistor R se reemplaza por una fuente de corriente constante.




