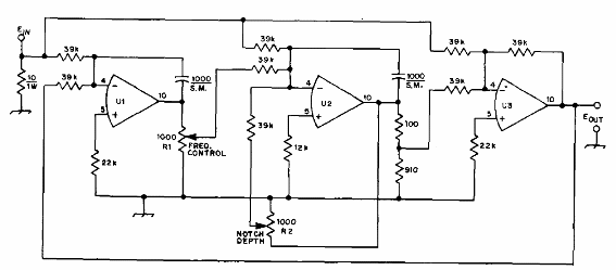
Con los componentes indicados, el límite de frecuencia superior de este filtro es de 4 kHz, pero se pueden realizar cambios en otras bandas. El circuito es de una publicación para Telecom en 1975 y los amplificadores operacionales pueden ser 741. La fuente debe ser simétrica de 12 V con excelente filtrado.

Filtro de rechazo con operacional



