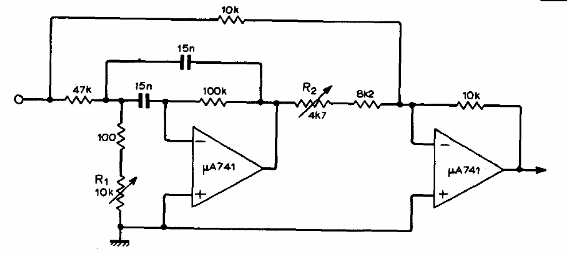
Encontramos esta configuración en una documentación técnica de 1973. El circuito usa 741 amplificadores operacionales y puede sintonizar frecuencias de 170 Hz a 3 kHz. Los componentes se pueden cambiar a otros rangos de frecuencia. La fuente de alimentación debe ser simétrica de 6 a 12 V.

Filtro de rechazo sintonizable con 741



