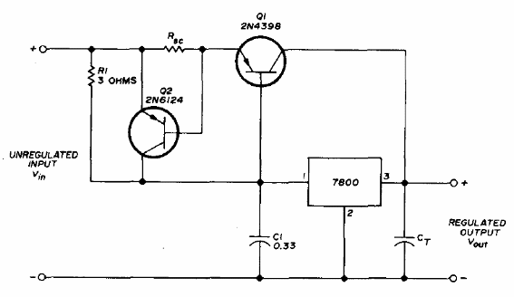
Con el transistor original, este circuito puede suministrar una corriente de hasta 30 A. Sin embargo, hoy podemos usar transistores más comunes para corrientes más pequeñas. Por ejemplo, podemos usar 2N2955 para 15 A. BD136 es el reemplazo de Q2. El transistor Q1 debe tener un excelente radiador de calor.

Regulador 5 a 24 V x 30 A



