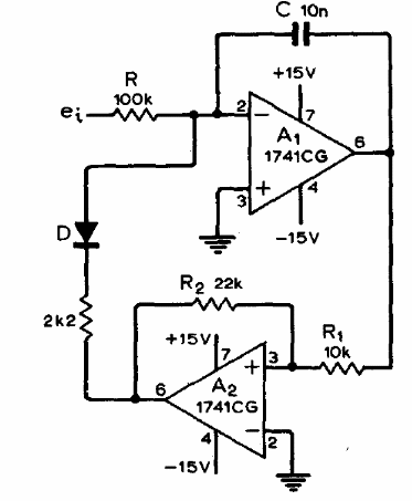
Encontramos este circuito en una publicación estadounidense en 1973. El circuito genera una señal de baja frecuencia en un rango determinado por C según la tensión de entrada. La tensión de control de este circuito puede estar entre 10 mV y 20 V y la tensión de la fuente de alimentación puede variar en el rango de 6 V a 15 V.

Convertidor de tensión a frecuencia



