)
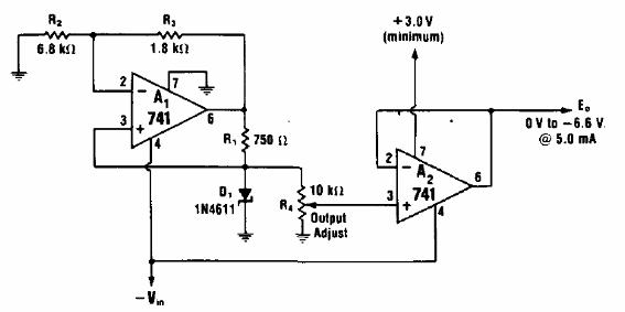
En esta fuente se utilizan dos amplificadores operacionales obtenidos en una documentación estadounidense (libro de cocina) de 1974. El circuito se puede utilizar como referencia de tensión o incluso para excitar una etapa de potencia. El circuito no necesita una fuente simétrica.

Fuente de 0 a 6,8 V con 5 mA



