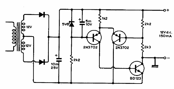
Los transistores de esta fuente de 12 V x 150 mA pueden ser BC558 para PNP y BD135 para NPN. El circuito es de una publicación de 1974 y los componentes con valores no estándar se pueden aproximar a los actuales. Los diodos rectificadores pueden ser 1N4002.

Fuente de alimentación de 12V ultra baja ondulación



