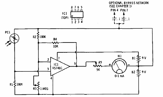
Este circuito es de un manual de Radio Shack de 1977. La fotocélula es un LDR y la operativa es una 741. Los componentes con valores no estándar pueden ser aproximados.

Puente para fotocélula
Este circuito es de un manual de Radio Shack de 1977. La fotocélula es un LDR y la operativa es una 741. Los componentes con valores no estándar pueden ser aproximados.
