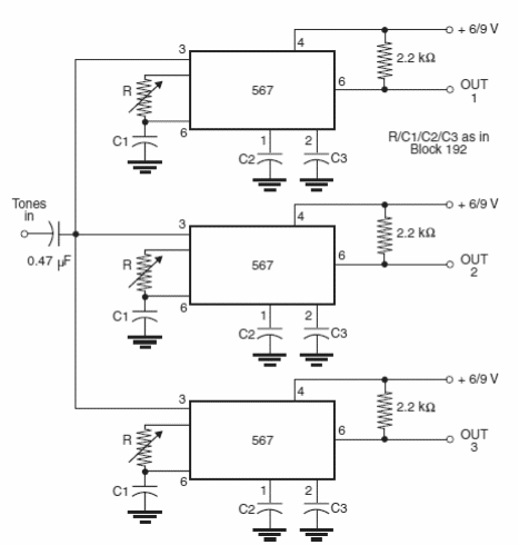
Este es el circuito que decodifica las señales del CIR18024S. El ajuste de cada frecuencia se realiza en el trimpot correspondiente y los capacitores C1 son típicamente 47 nF y R 100k para un mejor ajuste. Se pueden usar más decodificadores y su salida está activa en el nivel bajo. Se debe utilizar un paso de potencia para activar los relés. C2 y C3 son típicamente 10 nF y 100 nF respectivamente. El circuito es de un libro de Newton C. Braga publicado en Estados Unidos.




