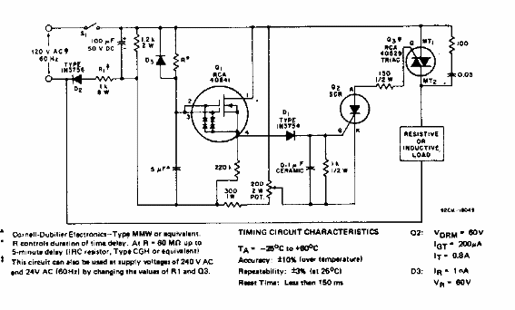
Este circuito utiliza un MOSFET de doble puerta, un componente raro en la actualidad. Lo encontramos en documentación estadounidense de la década de 1980. El resto de los componentes son comunes.

Temporizador para aplicaciones industriales
Este circuito utiliza un MOSFET de doble puerta, un componente raro en la actualidad. Lo encontramos en documentación estadounidense de la década de 1980. El resto de los componentes son comunes.
