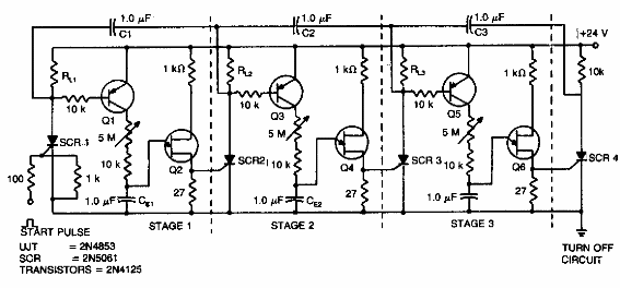
Este circuito con transistores unijuntura se encontró en una documentación de los años 80. Los tiempos de disparo de los SCR dependen de los capacitores y se ajustan en los potenciómetros de 5M (4M7).

Temporizador secuencial unijuntura
Este circuito con transistores unijuntura se encontró en una documentación de los años 80. Los tiempos de disparo de los SCR dependen de los capacitores y se ajustan en los potenciómetros de 5M (4M7).
