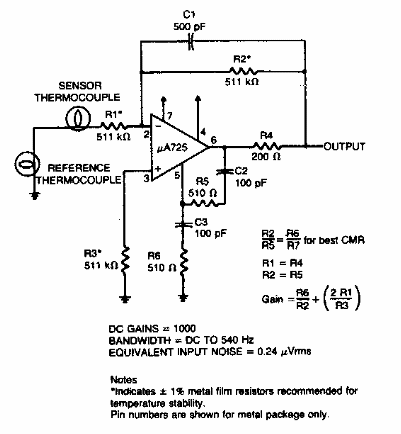
Este circuito utiliza un amplificador operacional de los años 80. Se encontraba en un manual de amplificadores operacionales de la época. Las fórmulas junto al diagrama se utilizan para calcular los componentes.

Amplificador de termopar
Este circuito utiliza un amplificador operacional de los años 80. Se encontraba en un manual de amplificadores operacionales de la época. Las fórmulas junto al diagrama se utilizan para calcular los componentes.
