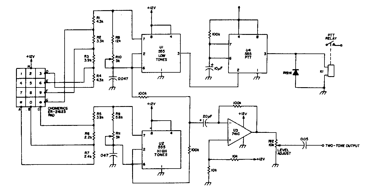
Este circuito codificador de teléfono con teclado se encontró en la antigua documentación estadounidense. Los componentes utilizados son comunes y no son difíciles de obtener.
Este circuito genera señales de menos de 10 Hz. Lo encontramos en una Popular Electronics de los años 90....
Este circuito de motor paso a paso se encontró en el Linear Databook de Motorola de 1990. El...
Este circuito, encontrado en una publicación de Sylvania de 1956, estaba destinado a servir como un...