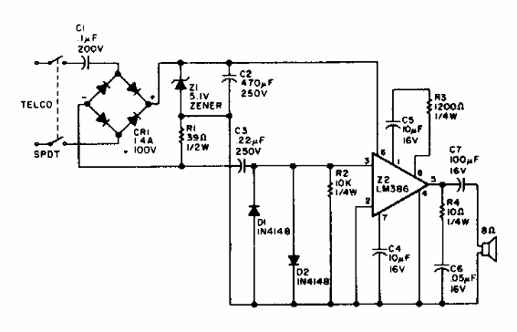
Encontramos este circuito en una publicación sobre telefonía en la década de 1980. El circuito usa un amplificador integrado de esa época, lo cual es poco común en la actualidad.

Monitor de línea telefónica
Encontramos este circuito en una publicación sobre telefonía en la década de 1980. El circuito usa un amplificador integrado de esa época, lo cual es poco común en la actualidad.
