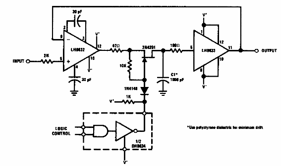
Este circuito se encontró en un antiguo manual de componentes, que aparece en otras versiones de este sitio. El circuito requiere una fuente de alimentación simétrica.

Muestreo y retención de alta velocidad 2
Este circuito se encontró en un antiguo manual de componentes, que aparece en otras versiones de este sitio. El circuito requiere una fuente de alimentación simétrica.
