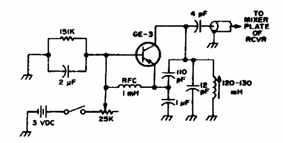
Este circuito está indicado para ser utilizado en receptores con FI en el rango de 1400 kHz. Se pueden realizar cambios en otras frecuencias de FI. Lo encontramos en documentación de los años 70.

Multiplicador de Q
Este circuito está indicado para ser utilizado en receptores con FI en el rango de 1400 kHz. Se pueden realizar cambios en otras frecuencias de FI. Lo encontramos en documentación de los años 70.
