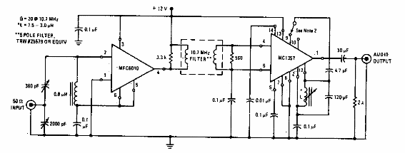
Se trata de un circuito basado en componentes de los años 70, poco habitual en la actualidad. Se obtuvo de documentación de la época, sirviendo solo como referencia.

Radio FM
Se trata de un circuito basado en componentes de los años 70, poco habitual en la actualidad. Se obtuvo de documentación de la época, sirviendo solo como referencia.
