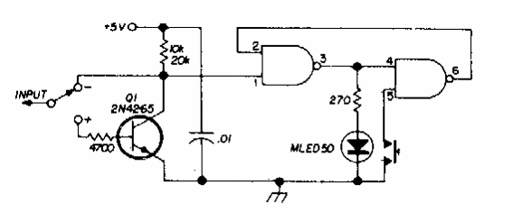
Este circuito para pruebas TTL utiliza un 7400 como elemento principal. El circuito memoriza la señal detectada en la entrada. El reset reinicia el circuito.

Prueba lógica con memoria
Este circuito para pruebas TTL utiliza un 7400 como elemento principal. El circuito memoriza la señal detectada en la entrada. El reset reinicia el circuito.
