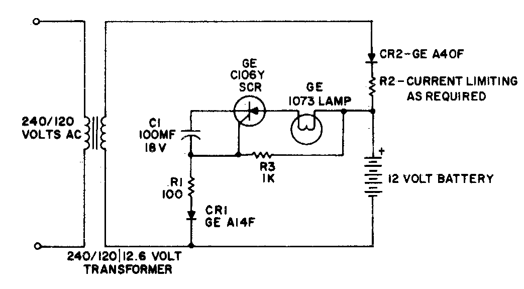
Este circuito aparece en otra parte de esta sección, obtenido de otra documentación. El circuito es para baterías de plomo-ácido y la lámpara se puede reemplazar por LED de alto brillo.
El circuito presentado en la figura 1 consiste en una óptima aplicación para paneles eléctricos, con la...
Este circuito es un oscilador de audio de desplazamiento de fase y puede generar señales alrededor de 1...
Esta radio de cristal es una versión más moderna del Radio de Galena, pues el cristal de galena...