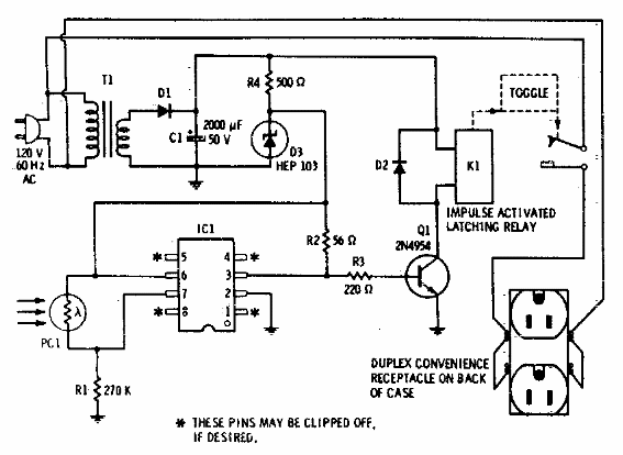
Este circuito fue encontrado en una documentación estadounidense de los años 90. Consiste en una memoria óptica para controlar una carga AC. El relé depende de la tensión del transformador que puede estar entre 6 y 12 V.

Memoria óptica para control AC



