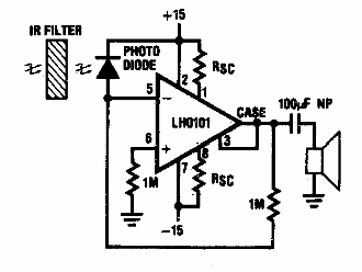
Este circuito infrarrojo de modulación de amplitud sirve como receptor en un enlace de audio. El circuito es de una documentación antigua, que utiliza un amplificador integrado de esa época.

Receptor de enlace infrarrojo
Este circuito infrarrojo de modulación de amplitud sirve como receptor en un enlace de audio. El circuito es de una documentación antigua, que utiliza un amplificador integrado de esa época.
