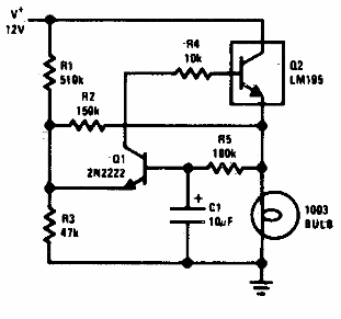
Este circuito se obtuvo en un manual del fabricante de transistores de los años 90. El circuito utiliza un transistor de potencia inusual en la actualidad. Se pueden usar equivalentes.

Pulsador de 1A
Este circuito se obtuvo en un manual del fabricante de transistores de los años 90. El circuito utiliza un transistor de potencia inusual en la actualidad. Se pueden usar equivalentes.
