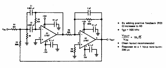
Encontrado en una documentación de los años 90, este circuito utiliza componentes de esa época. Se pueden utilizar operacionales equivalentes modernos. Al lado del diagrama, información para calcular los componentes.

Filtro de paso de banda de alto Q alto



