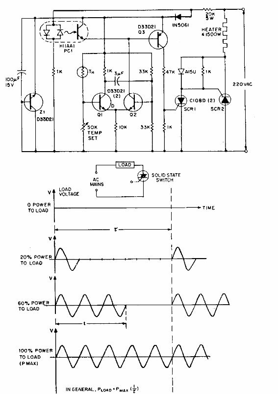
Este circuito se obtuvo en una documentación de General Electric de los años 90. El circuito consiste en un interruptor de paso cero que activa dos SCR que tienen como carga un elemento calefactor.

Controlador de temperatura con SCR
Este circuito se obtuvo en una documentación de General Electric de los años 90. El circuito consiste en un interruptor de paso cero que activa dos SCR que tienen como carga un elemento calefactor.
