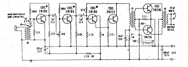
Este circuito es de una antigua revista argentina de los años 70. La dificultad para su montaje está en la obtención de los transformadores, ya que para los transistores podemos usar tipos más modernos como los TIP32 en la salida. La alimentación es de batería de 12 V y la potencia es de algunos watts. El micrófono utilizado es del tipo piezoeléctrico (sin el transformador) o de baja impedancia (con el transformador).




