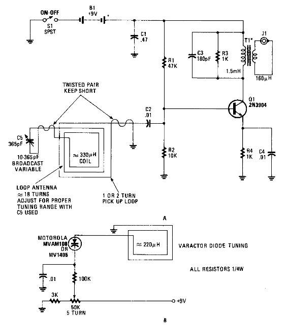
Este interesante amplificador para antena de cuadro para el rango de onda media se encontró en una Popular Electronics de los años 90. Los componentes son comunes, ya que el transistor puede ser cualquiera de propósito general. T1 es un pequeño transformador toroidal con una relación de espiras de 3 a 1.

Booster de onda media



