Este circuito se encontró en documentación antigua, que aparece en otra parte de esta sección, tomada de otras fuentes. La lámpara es de un tipo especial de la época.

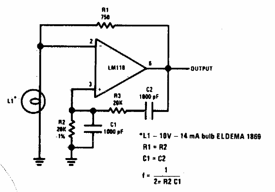
Oscilador de puente de Viena
Este circuito se encontró en documentación antigua, que aparece en otra parte de esta sección, tomada de otras fuentes. La lámpara es de un tipo especial de la época.
