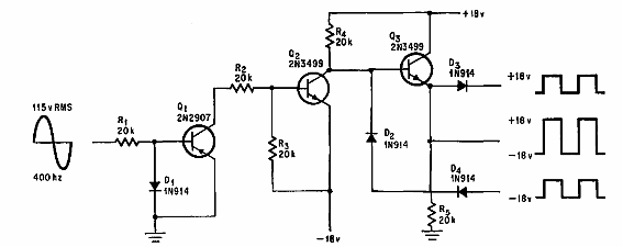
Este circuito se encontró en una documentación de 1968. El circuito genera tres señales rectangulares a partir de una entrada sinusoidal de 400 Hz. El circuito es adecuado para aplicaciones en controles de potencia.

Generador cuadrado de 400 Hz
Este circuito se encontró en una documentación de 1968. El circuito genera tres señales rectangulares a partir de una entrada sinusoidal de 400 Hz. El circuito es adecuado para aplicaciones en controles de potencia.
