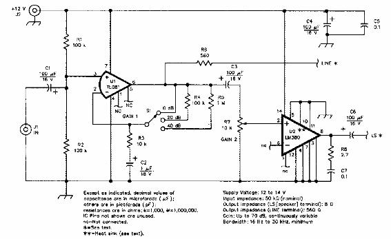
Este circuito se obtuvo en una revista QST de los años 90. El circuito utiliza componentes que son poco comunes hoy en día. El circuito incluye un interruptor de selección de ganancia.

Amplificador de propósito general
Este circuito se obtuvo en una revista QST de los años 90. El circuito utiliza componentes que son poco comunes hoy en día. El circuito incluye un interruptor de selección de ganancia.
