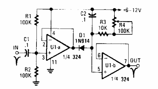
Encontramos este circuito en una Popular Electronics de los años 90. Aumenta la duración de un pulso en una proporción determinada por la configuración de R4 y C2.

Estirador de pulso
Encontramos este circuito en una Popular Electronics de los años 90. Aumenta la duración de un pulso en una proporción determinada por la configuración de R4 y C2.
