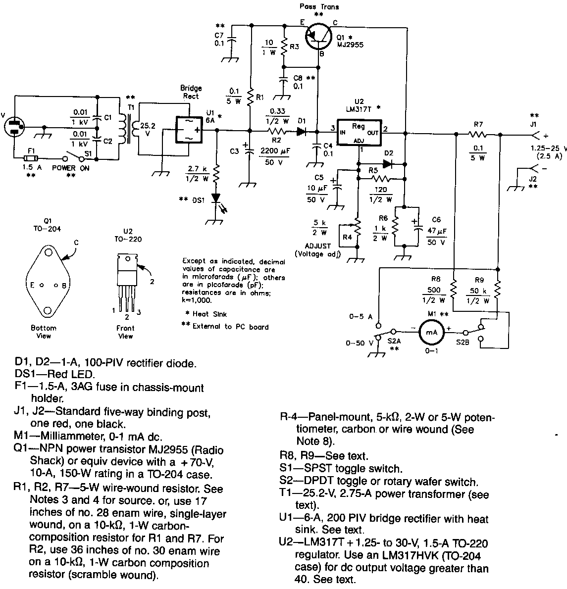
Esta fuente de alimentación de 2.5 A se encontró en una revista QST de los 90. El transistor de potencia debe montarse en un disipador térmico.
Cuando se habla de oscilador de relajación, pronto se piensa en los transistores unijuntura que, a pesar de...
Un viejo transformador de salida sacado de alguna radio transistorizada antigua que ya no funciona es...
Este simple oscilador emite una señal que produce, en televisores analógicos (rango de VHF y UHF),...