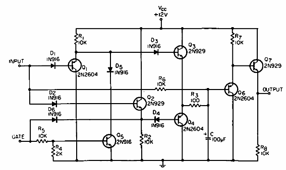
Este circuito se encontró en un EEE de 1966. El circuito utiliza transistores de la época, pero puede hacerse con equivalentes modernos. La frecuencia de operación varía de 0.1 a 1 kHz.

Filtro con muestreo y retención
Este circuito se encontró en un EEE de 1966. El circuito utiliza transistores de la época, pero puede hacerse con equivalentes modernos. La frecuencia de operación varía de 0.1 a 1 kHz.
