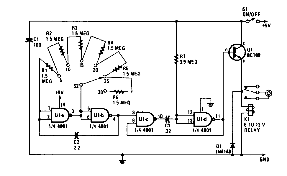
Este circuito es del momento en que se utilizaron los proyectores de diapositivas. Lo encontramos en un tanque Wels’Think Tank de los 90. Los tiempos de espera se pueden ajustar de 5 a 30 segundos.

 

Sincronizado para proyector de diapositivas
Sincronizado para proyector de diapositivas | Haga click en la imagen para ampliar |