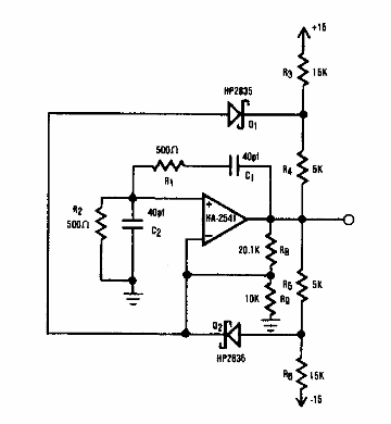
Encontrado en la documentación de Harris en los años 90, este circuito utiliza un zener como estabilizador. Las señales generadas con los componentes utilizados son sinusoidales de 40 MHz.

Oscilador de puente de Wien
Encontrado en la documentación de Harris en los años 90, este circuito utiliza un zener como estabilizador. Las señales generadas con los componentes utilizados son sinusoidales de 40 MHz.
