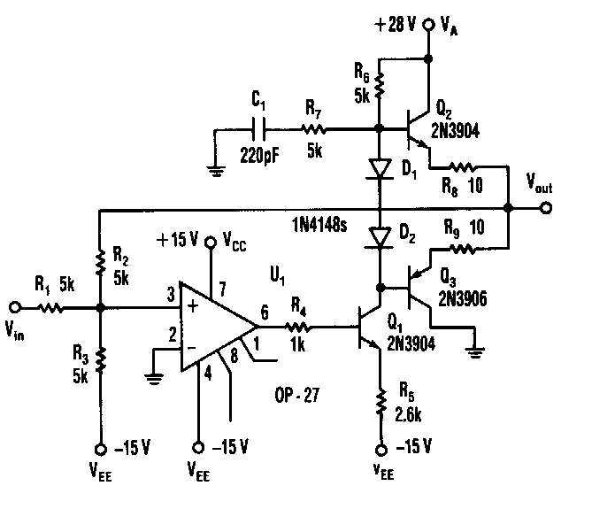
Encontrado en una Electronic Design de los años 90, este circuito puede proporcionar una salida de potencia relativamente alta. La frecuencia básica viene dada por los resistores y capacitores sin valores.

 

VCO de potencia con operacional
VCO de potencia con operacional | Haga click en la imagen para ampliar |