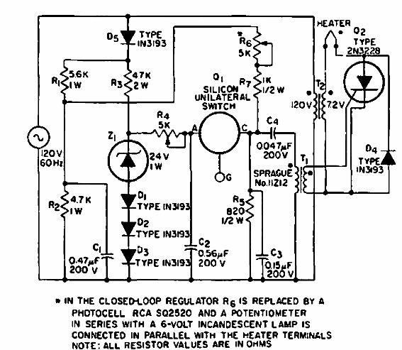
Encontrado en documentación RCA de 1969, este circuito mantiene una corriente constante en el filamento de una lámpara o en un elemento calefactor. El circuito hace uso de componentes de época.

Regulador de corriente constante para lámparas
Encontrado en documentación RCA de 1969, este circuito mantiene una corriente constante en el filamento de una lámpara o en un elemento calefactor. El circuito hace uso de componentes de época.
