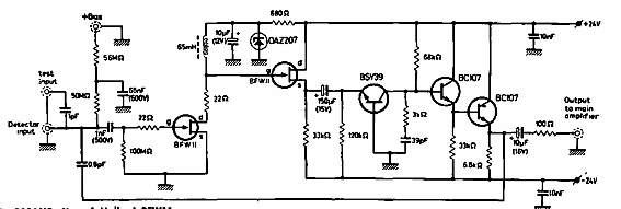
Este circuito de bajo ruido se obtuvo en una documentación británica de 1969. El circuito utiliza componentes de esa época.

Amplificador de bajo ruido
Este circuito de bajo ruido se obtuvo en una documentación británica de 1969. El circuito utiliza componentes de esa época.
