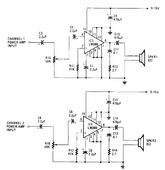
Este circuito fue publicado en Radio Electronics desde los años 90. El circuito utiliza el conocido LM386 que aparece en una gran cantidad de proyectos en este sitio.

Amplificador para Walkman
Este circuito fue publicado en Radio Electronics desde los años 90. El circuito utiliza el conocido LM386 que aparece en una gran cantidad de proyectos en este sitio.
