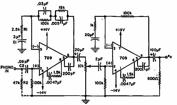
Este circuito se obtuvo en una Electronics World de 1968. Los operacionales son tipos de la época, que ya no se utilizan en la actualidad. El circuito responde desde menos de 20 Hz.

Preamplificador RIAA
Este circuito se obtuvo en una Electronics World de 1968. Los operacionales son tipos de la época, que ya no se utilizan en la actualidad. El circuito responde desde menos de 20 Hz.
