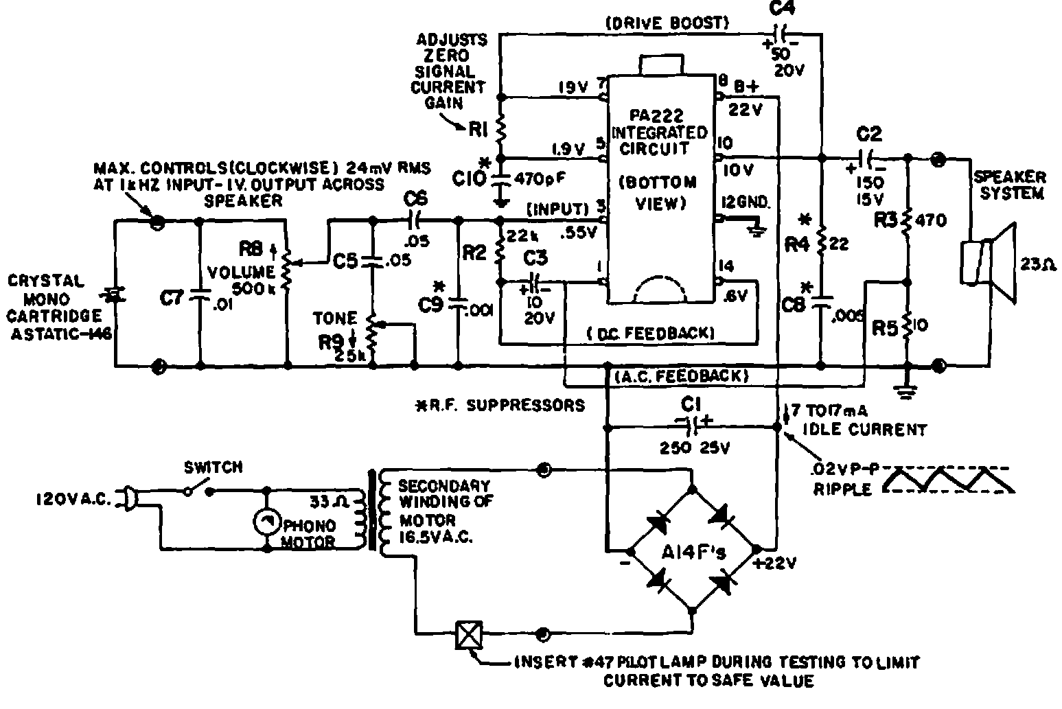
Este pequeño amplificador fonográfico se encontró en una documentación de General Electric de 1967. El circuito integrado es de esa época y proporciona 1,5 W de potencia de salida.
Este interesante circuito, que se encuentra en una documentación de 1984, captura estaciones en la...
La fuente de alimentación de este circuito debe ser simétrica de 15 + 15 V y la carga de 4 ó 8...
Este circuito fue encontrado en una Radio Electronics Constructor, revista inglesa de junio de...