Este circuito sintonizado pasivo se encontró en una Popular Electronics de los años 90. Las bobinas deben estar de acuerdo con la banda de onda monitoreada.

Medidor de intensidad de campo
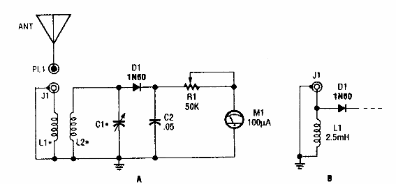
Este circuito sintonizado pasivo se encontró en una Popular Electronics de los años 90. Las bobinas deben estar de acuerdo con la banda de onda monitoreada.
