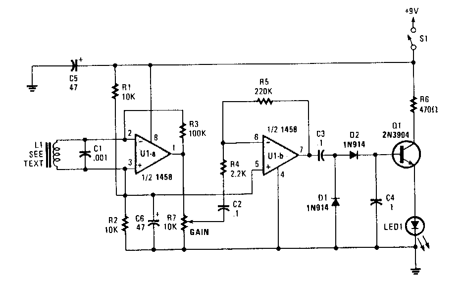
Encontramos este circuito en una Popular Electronics de los años 90. El circuito utiliza una bobina de captación que consta de 100 a 200 vueltas de cable 28 alrededor del cable a monitorear.

 

Indicador de corriente alterna
Indicador de corriente alterna | Haga click en la imagen para ampliar |