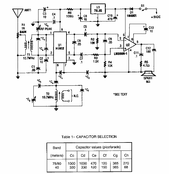
Este circuito se obtuvo en una Popular Electronics de los años 90. En la tabla se muestran los valores de los componentes para los diferentes rangos. El circuito integrado U1 es poco común hoy en día.

Receptor de conversión directa para radioaficionados



