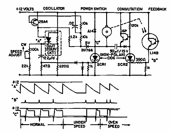
Este circuito se obtuvo en un manual de General Electric de 1968. Los componentes utilizados son de la época, pero admiten equivalentes. Observe el sistema de retroalimentación óptica para el control.

Control de velocidad para motor de giradiscos
Este circuito se obtuvo en un manual de General Electric de 1968. Los componentes utilizados son de la época, pero admiten equivalentes. Observe el sistema de retroalimentación óptica para el control.
