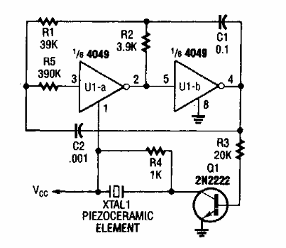
Este circuito, como el anterior, puede ser controlado por un microcontrolador, que funciona como un shield. La frecuencia se puede cambiar cambiando C1. El suministro se puede hacer con voltajes de 5 a 12 V típicamente.

Shield piezoeléctrico CMOS 2
Este circuito, como el anterior, puede ser controlado por un microcontrolador, que funciona como un shield. La frecuencia se puede cambiar cambiando C1. El suministro se puede hacer con voltajes de 5 a 12 V típicamente.
