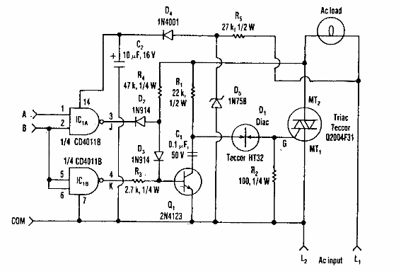
Encontrado en una Electronic Design de los años 90, este circuito puede usarse como un escudo en los proyectos actuales. El circuito proporciona tres niveles de señales para activar cargas.

Shield de triac de 3 niveles
Encontrado en una Electronic Design de los años 90, este circuito puede usarse como un escudo en los proyectos actuales. El circuito proporciona tres niveles de señales para activar cargas.
